
直到1980年代,表面贴装技术(SMT)才获得普及和使用。在那之前,通孔技术已经成为30多年来的首选。一旦SMT可用,就可以使用更小的电路板,但是,SMT并不总是答案。使用SMT的设备不能直接用于面包板;它们不适用于大型,高功率或高压应用;当有机械应力时,它们不适合使用。在这些情况下,通孔技术仍然会发光。
通孔安装使用的引线被插入到PCB上钻出的孔中,然后通过自动插入机或手动放置焊接到板另一侧的焊盘上。所用电阻器的电镀通孔(PTH)带有长而柔软的引线,这些引线可以手工焊接到板上,也可以插入面包板中。导线一旦放置,便会被修剪。
线绕和轴向封装是通孔电阻器的两种类型,轴向封装是最常用的。该电阻器的大小基于其额定功率。轴向引线位于圆柱或箱形组件的每个末端。它们用于短距离,并且在板上具有较低或平坦的轮廓。绕线电阻器通常基于其较高的额定功率或固有的最高温度范围而较为昂贵,使用的高端组件。这些电阻器由碳膜,金属膜或金属氧化物膜制成。一层导电材料薄膜缠绕成螺旋状,并被绝缘材料覆盖。大多数是碳膜或金属膜成分。
线绕电阻器的金属线绕在陶瓷,塑料或玻璃纤维芯上。导线末端焊接或焊接到铁心末端的盖上,电阻器组件上覆盖有一层搪瓷或油漆以进行保护。
Vishay线绕RWR78N13R7FPB12是固定的单通孔电阻器,用于军事用途。RWR78N13R7FPB12具有MIL-PRF-39007认证,具有很高的可靠性。RWR78N13R7FPB12的功能包括:高温硅树脂涂层,完整的焊接结构,以及具有Ayrton-Perry绕组的非电感性类型(N型),可实现最低的无源组件。
TE Connectivity的CCR218RKB是一个固定的单通孔电阻器,使用固体陶瓷成分构成,这是在涌入电流较高的情况下吸收高能量脉冲的传统介质。这些电阻具有出色的脉冲承受能力,并且非常稳定。该系列是高压电源,RC缓冲电路和浪涌限制器中与电路相关的性能的理想选择。

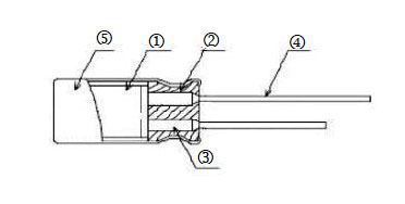
图1:来自TE Connectivity的CCR218RKB的尺寸。(来源:TE Connectivity)
这些电阻器具有低成本和高性能,大范围的电阻值的特点,并且有两种尺寸可供选择。
国巨的CFR1WSJT-52-10K固定式单通孔碳膜电阻器系列是在高档陶瓷棒上由均匀的纯碳膜制成的。在电阻层上切出螺旋形凹槽后,将电解铜的镀锡连接引线焊接到端盖上。

表1:CFR系列碳膜电阻器的温度系数。(来源:国巨)
通孔安装提供了牢固的机械结合力,但是所需的钻孔使电路板的生产成本更高。当使用多层板时,由于孔需要穿过所有层,因此它们还限制了信号线在顶层以下的可用布线区域。因此,通孔安装通常保留给体积较大或较重的组件,或需要较大强度支撑的组件(如插头连接器)。
